Diesel Fuel Supply for 1997 GMC Yukon
Vehicle
1997 GMC Yukon
Change Vehicle
Categories
- Back Door
- Bumper & Components - Front
- Bumper & Components - Rear
- Center
- Cluster & Switches
- Cowl
- Door & Components
- Doors
- Exterior Trim - Back Door
- Exterior Trim - Fender
- Exterior Trim - Front Door
- Exterior Trim - Pillars
- Exterior Trim - Quarter Panel
- Exterior Trim - Tail Gate
- Fender & Components
- Floor & Rails
- Frame & Components
- Front Door
- Gate & Hardware
- Glass - Front Door
- Glass - Lift Gate
- Glass - Rear Door
- Glass - Windshield
- Glass & Hardware
- Glass & Hardware - Back
- Grille & Components
- Hardware
- Hardware - Back Door
- Hardware, Fasteners & Fittings
- Hood & Components
- Inner Components
- Instrument Panel
- Interior Trim
- Interior Trim - Back Door
- Interior Trim - Front Door
- Interior Trim - Pillars
- Interior Trim - Quarter Panels
- Interior Trim - Rear Door
- Interior Trim - Roof
- Interior Trim - Tail Gate
- Labels
- Lock & Hardware
- Luggage Carrier
- Outside Mirrors
- Overhead
- Quarter Panel & Components
- Rear Body & Floor
- Rear Door
- Rear Side Door
- Rear Wiper Components
- Roof
- Roof & Components
- Seat Belt
- Side Body
- Sound System
- Stripe Tape
- Tracks & Components
- Trailer Hitch Components
- Uniside
- Wiper & Washer Components
- ABS Components
- Air Bag Components
- Alternator
- Alternator/Generator & Related Components
- Antenna & Radio
- Automatic Transmission
- Back Door
- Battery
- Components On Apron
- Components On Dash Panel
- Controls
- Cruise Control System
- Daytime Running Lamp Components
- Daytime Running Lamps
- Diesel Controls
- Electrical Components
- Electrical Sockets
- Flashers
- Front Door
- Front Seat Belts
- Front Wipers
- Glass, Windows & Related Components
- Headlamp Components
- Horn
- Ignition Lock
- Ignition System
- Instruments & Gauges
- Keyless Entry Components
- License Lamps
- Lighting - Exterior
- Lighting - Interior
- Mirrors
- Park & Signal Lamps
- Power Seats
- Powertrain Control
- Rear Door
- Rear Seat Belts
- Rear Wipers
- Relays
- Senders
- Sensors
- Side Marker Lamps
- Starter
- Starter & Related Components
- Switches
- Switches, Solenoids & Actuators
- Tail Lamps
- A/C Accumulator/Receiver Drier
- A/C Clutch & Compressor
- A/C Condenser & Evaporator
- A/C Flow Restrictors
- Air Distribution System
- Auxiliary Heater & AC
- Blower Motor & Fan
- Condenser, Compressor & Lines
- Controls
- Evaporator & Heater Components
- Heater
- Heater Components
- Hoses & Pipes
- HVAC Case
- Motors, Core, Case & Related Components
- Switches, Solenoids & Actuators
- Temperature Controls & Related Components
- Control Modules
- Housing & Components
- Intermediate Shaft
- P/S Pump & Hoses
- Power Steering Hoses, Pumps, & Related Components
- Pump & Hoses
- Shaft & Internal Components
- Shroud, Switches & Levers
- Steering Column
- Steering Column Assembly
- Steering Gear & Linkage
- Steering Wheel
- Steering Wheel & Trim
- Steering, Gear & Related Components
- Back Door
- Bumper & Components - Front
- Bumper & Components - Rear
- Center
- Cluster & Switches
- Cowl
- Door & Components
- Doors
- Exterior Trim - Back Door
- Exterior Trim - Fender
- Exterior Trim - Front Door
- Exterior Trim - Pillars
- Exterior Trim - Quarter Panel
- Exterior Trim - Tail Gate
- Fender & Components
- Floor & Rails
- Frame & Components
- Front Door
- Gate & Hardware
- Glass - Front Door
- Glass - Lift Gate
- Glass - Rear Door
- Glass - Windshield
- Glass & Hardware
- Glass & Hardware - Back
- Grille & Components
- Hardware
- Hardware - Back Door
- Hardware, Fasteners & Fittings
- Hood & Components
- Inner Components
- Instrument Panel
- Interior Trim
- Interior Trim - Back Door
- Interior Trim - Front Door
- Interior Trim - Pillars
- Interior Trim - Quarter Panels
- Interior Trim - Rear Door
- Interior Trim - Roof
- Interior Trim - Tail Gate
- Labels
- Lock & Hardware
- Luggage Carrier
- Outside Mirrors
- Overhead
- Quarter Panel & Components
- Rear Body & Floor
- Rear Door
- Rear Side Door
- Rear Wiper Components
- Roof
- Roof & Components
- Seat Belt
- Side Body
- Sound System
- Stripe Tape
- Tracks & Components
- Trailer Hitch Components
- Uniside
- Wiper & Washer Components
- ABS Components
- Air Bag Components
- Alternator
- Alternator/Generator & Related Components
- Antenna & Radio
- Automatic Transmission
- Back Door
- Battery
- Components On Apron
- Components On Dash Panel
- Controls
- Cruise Control System
- Daytime Running Lamp Components
- Daytime Running Lamps
- Diesel Controls
- Electrical Components
- Electrical Sockets
- Flashers
- Front Door
- Front Seat Belts
- Front Wipers
- Glass, Windows & Related Components
- Headlamp Components
- Horn
- Ignition Lock
- Ignition System
- Instruments & Gauges
- Keyless Entry Components
- License Lamps
- Lighting - Exterior
- Lighting - Interior
- Mirrors
- Park & Signal Lamps
- Power Seats
- Powertrain Control
- Rear Door
- Rear Seat Belts
- Rear Wipers
- Relays
- Senders
- Sensors
- Side Marker Lamps
- Starter
- Starter & Related Components
- Switches
- Switches, Solenoids & Actuators
- Tail Lamps
- A/C Accumulator/Receiver Drier
- A/C Clutch & Compressor
- A/C Condenser & Evaporator
- A/C Flow Restrictors
- Air Distribution System
- Auxiliary Heater & AC
- Blower Motor & Fan
- Condenser, Compressor & Lines
- Controls
- Evaporator & Heater Components
- Heater
- Heater Components
- Hoses & Pipes
- HVAC Case
- Motors, Core, Case & Related Components
- Switches, Solenoids & Actuators
- Temperature Controls & Related Components
- Control Modules
- Housing & Components
- Intermediate Shaft
- P/S Pump & Hoses
- Power Steering Hoses, Pumps, & Related Components
- Pump & Hoses
- Shaft & Internal Components
- Shroud, Switches & Levers
- Steering Column
- Steering Column Assembly
- Steering Gear & Linkage
- Steering Wheel
- Steering Wheel & Trim
- Steering, Gear & Related Components
Browse Categories
Select category
- Back Door
- Bumper & Components - Front
- Bumper & Components - Rear
- Center
- Cluster & Switches
- Cowl
- Door & Components
- Doors
- Exterior Trim - Back Door
- Exterior Trim - Fender
- Exterior Trim - Front Door
- Exterior Trim - Pillars
- Exterior Trim - Quarter Panel
- Exterior Trim - Tail Gate
- Fender & Components
- Floor & Rails
- Frame & Components
- Front Door
- Gate & Hardware
- Glass - Front Door
- Glass - Lift Gate
- Glass - Rear Door
- Glass - Windshield
- Glass & Hardware
- Glass & Hardware - Back
- Grille & Components
- Hardware
- Hardware - Back Door
- Hardware, Fasteners & Fittings
- Hood & Components
- Inner Components
- Instrument Panel
- Interior Trim
- Interior Trim - Back Door
- Interior Trim - Front Door
- Interior Trim - Pillars
- Interior Trim - Quarter Panels
- Interior Trim - Rear Door
- Interior Trim - Roof
- Interior Trim - Tail Gate
- Labels
- Lock & Hardware
- Luggage Carrier
- Outside Mirrors
- Overhead
- Quarter Panel & Components
- Rear Body & Floor
- Rear Door
- Rear Side Door
- Rear Wiper Components
- Roof
- Roof & Components
- Seat Belt
- Side Body
- Sound System
- Stripe Tape
- Tracks & Components
- Trailer Hitch Components
- Uniside
- Wiper & Washer Components
- ABS Components
- Air Bag Components
- Alternator
- Alternator/Generator & Related Components
- Antenna & Radio
- Automatic Transmission
- Back Door
- Battery
- Components On Apron
- Components On Dash Panel
- Controls
- Cruise Control System
- Daytime Running Lamp Components
- Daytime Running Lamps
- Diesel Controls
- Electrical Components
- Electrical Sockets
- Flashers
- Front Door
- Front Seat Belts
- Front Wipers
- Glass, Windows & Related Components
- Headlamp Components
- Horn
- Ignition Lock
- Ignition System
- Instruments & Gauges
- Keyless Entry Components
- License Lamps
- Lighting - Exterior
- Lighting - Interior
- Mirrors
- Park & Signal Lamps
- Power Seats
- Powertrain Control
- Rear Door
- Rear Seat Belts
- Rear Wipers
- Relays
- Senders
- Sensors
- Side Marker Lamps
- Starter
- Starter & Related Components
- Switches
- Switches, Solenoids & Actuators
- Tail Lamps
- A/C Accumulator/Receiver Drier
- A/C Clutch & Compressor
- A/C Condenser & Evaporator
- A/C Flow Restrictors
- Air Distribution System
- Auxiliary Heater & AC
- Blower Motor & Fan
- Condenser, Compressor & Lines
- Controls
- Evaporator & Heater Components
- Heater
- Heater Components
- Hoses & Pipes
- HVAC Case
- Motors, Core, Case & Related Components
- Switches, Solenoids & Actuators
- Temperature Controls & Related Components
- Control Modules
- Housing & Components
- Intermediate Shaft
- P/S Pump & Hoses
- Power Steering Hoses, Pumps, & Related Components
- Pump & Hoses
- Shaft & Internal Components
- Shroud, Switches & Levers
- Steering Column
- Steering Column Assembly
- Steering Gear & Linkage
- Steering Wheel
- Steering Wheel & Trim
- Steering, Gear & Related Components
- Back Door
- Bumper & Components - Front
- Bumper & Components - Rear
- Center
- Cluster & Switches
- Cowl
- Door & Components
- Doors
- Exterior Trim - Back Door
- Exterior Trim - Fender
- Exterior Trim - Front Door
- Exterior Trim - Pillars
- Exterior Trim - Quarter Panel
- Exterior Trim - Tail Gate
- Fender & Components
- Floor & Rails
- Frame & Components
- Front Door
- Gate & Hardware
- Glass - Front Door
- Glass - Lift Gate
- Glass - Rear Door
- Glass - Windshield
- Glass & Hardware
- Glass & Hardware - Back
- Grille & Components
- Hardware
- Hardware - Back Door
- Hardware, Fasteners & Fittings
- Hood & Components
- Inner Components
- Instrument Panel
- Interior Trim
- Interior Trim - Back Door
- Interior Trim - Front Door
- Interior Trim - Pillars
- Interior Trim - Quarter Panels
- Interior Trim - Rear Door
- Interior Trim - Roof
- Interior Trim - Tail Gate
- Labels
- Lock & Hardware
- Luggage Carrier
- Outside Mirrors
- Overhead
- Quarter Panel & Components
- Rear Body & Floor
- Rear Door
- Rear Side Door
- Rear Wiper Components
- Roof
- Roof & Components
- Seat Belt
- Side Body
- Sound System
- Stripe Tape
- Tracks & Components
- Trailer Hitch Components
- Uniside
- Wiper & Washer Components
- ABS Components
- Air Bag Components
- Alternator
- Alternator/Generator & Related Components
- Antenna & Radio
- Automatic Transmission
- Back Door
- Battery
- Components On Apron
- Components On Dash Panel
- Controls
- Cruise Control System
- Daytime Running Lamp Components
- Daytime Running Lamps
- Diesel Controls
- Electrical Components
- Electrical Sockets
- Flashers
- Front Door
- Front Seat Belts
- Front Wipers
- Glass, Windows & Related Components
- Headlamp Components
- Horn
- Ignition Lock
- Ignition System
- Instruments & Gauges
- Keyless Entry Components
- License Lamps
- Lighting - Exterior
- Lighting - Interior
- Mirrors
- Park & Signal Lamps
- Power Seats
- Powertrain Control
- Rear Door
- Rear Seat Belts
- Rear Wipers
- Relays
- Senders
- Sensors
- Side Marker Lamps
- Starter
- Starter & Related Components
- Switches
- Switches, Solenoids & Actuators
- Tail Lamps
- A/C Accumulator/Receiver Drier
- A/C Clutch & Compressor
- A/C Condenser & Evaporator
- A/C Flow Restrictors
- Air Distribution System
- Auxiliary Heater & AC
- Blower Motor & Fan
- Condenser, Compressor & Lines
- Controls
- Evaporator & Heater Components
- Heater
- Heater Components
- Hoses & Pipes
- HVAC Case
- Motors, Core, Case & Related Components
- Switches, Solenoids & Actuators
- Temperature Controls & Related Components
- Control Modules
- Housing & Components
- Intermediate Shaft
- P/S Pump & Hoses
- Power Steering Hoses, Pumps, & Related Components
- Pump & Hoses
- Shaft & Internal Components
- Shroud, Switches & Levers
- Steering Column
- Steering Column Assembly
- Steering Gear & Linkage
- Steering Wheel
- Steering Wheel & Trim
- Steering, Gear & Related Components
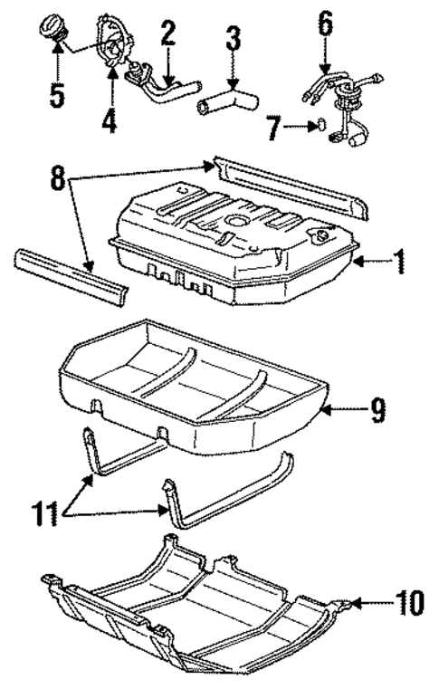
7
- ACDelcoâ„¢ Fuel PumpGMAll models. Express, savana. Diesel engines. With 6.5L diesel. 1992-99 2 door. Fuel pump. External Pump. Vendor:acdelco. 1/2, 3/4 & 1 ton, 1996 new style, diesel. (Unavailable)
- $166.33Fuel PumpGMAll models. External Pump. Express, savana. Diesel engines. 1992-99 2 door. 1/2, 3/4 & 1 ton, 1996 new style, diesel. Provides steady reliable fuel supply Helps vehicle engine run smoothly Some ACDelco Gold parts may have formerly appeared as ACDelco Professional Premium aftermarket replacement part Premium aftermarket replacement part Manufactured to meet specifications for fit, form, and function for General Motors vehicles as well as most makes and models
7
- ACDelcoâ„¢ Fuel PumpGMAll models. Express, savana. Diesel engines. With 6.5L diesel. 1992-99 2 door. Fuel pump. External Pump. Vendor:acdelco. 1/2, 3/4 & 1 ton, 1996 new style, diesel. (Unavailable)
- $166.33Fuel PumpGMAll models. External Pump. Express, savana. Diesel engines. 1992-99 2 door. 1/2, 3/4 & 1 ton, 1996 new style, diesel. Provides steady reliable fuel supply Helps vehicle engine run smoothly Some ACDelco Gold parts may have formerly appeared as ACDelco Professional Premium aftermarket replacement part Premium aftermarket replacement part Manufactured to meet specifications for fit, form, and function for General Motors vehicles as well as most makes and models
No.
Part # / Description / Price
Price
2
Filler Neck
GM
GM Notes: PARTS: Order by description.
Description: Suburban. Without 6.5l diesel. Blazer/Yukon/Tahoe. 2 door. 1992-99 2 door.
3
4
Fuel Tank Filler Pipe Housing
GM
GM Description: 1995-00. 4 door. 2 door. Housing. Driver side, with hinged door. Filler pocket. Without crew cab. 1/2, 3/4 & 1 ton, 1996 new style,. This GM Genuine Part is designed, engineered, and tested to rigorous standards and is backed by General Motors
5
Fuel Tank Filler Cap
GM
GM Description: Helps provide a tight seal to keep your vehicle's fuel tank from releasing fumes
Helps prevent elements from entering the fuel tank
6
7
Acdelco™ Fuel Pump
GM
GM Notes: PARTS: Order by description.
Description: All models. Express, savana. Diesel engines. With 6.5L diesel. 1992-99 2 door. Fuel pump. External Pump. Vendor:acdelco. 1/2, 3/4 & 1 ton, 1996 new style, diesel.
7
Electric Fuel Pump
GM
GM Notes: PARTS: Order by description.
Description: All models. External Pump. Express, savana. Diesel engines. 1992-99 2 door. 1/2, 3/4 & 1 ton, 1996 new style, diesel. Provides steady reliable fuel supply
Helps vehicle engine run smoothly
Some ACDelco Gold parts may have formerly appeared as ACDelco Professional Premium aftermarket replacement part
Premium aftermarket replacement part
Manufactured to meet specifications for fit, form, and function for General Motors vehicles as well as most makes and models
MSRP $303.82
$166.33
MSRP $303.82
$166.33
8
Fuel Tank Insulator
GM
GM Description: 1995-00. 4 door, 1995-2000, for strap. 2 door. 1985-99, upper. Type 1. 1/2, 3/4 & 1 ton, 1996 new style,. This GM Genuine Part is designed, engineered, and tested to rigorous standards and is backed by General Motors
Collision parts are designed to help promote proper and safe repair
MSRP $7.70
MSRP $7.70
11
Related Parts
Part # / Description / Price
Price
Water in Fuel Indicator Sensor
GM
GM Description: All models. Sends an electrical signal when water is detected in vehicle's fuel supply
This GM Genuine Part is designed, engineered, and tested to rigorous standards and is backed by General Motors
Multi-Purpose Gasket
GM
GM Description: All models. G10-30 vans. 6.2l, diesel. All. 6.2l, diesel. Express, savana. 6.5l diesel. This GM Genuine Part is designed, engineered, and tested to rigorous standards and is backed by General Motors
Fuel Pump Driver Module with Plate and Bolts
GM
GM Description: Fuel pump driver. All models. 6.5L turbo diesel. Helps control voltage delivered to diesel engine fuel injectors
Helps maintain fuel pressure and fuel delivery to engine
This GM Genuine Part is designed, engineered, and tested to rigorous standards and is backed by General Motors
MSRP $704.80
$384.12
MSRP $704.80
$384.12